OEM ЗАПЧАСТИ

  info@automotohub.ru   8 (916) 294-84-77
  О Компании   Оплата и Доставка   Помощь   Обратная связь

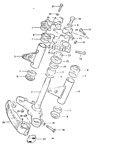
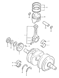
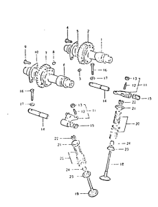
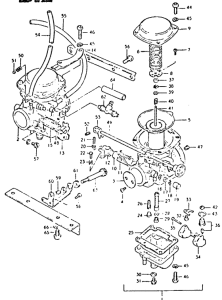
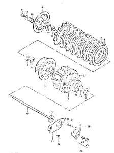
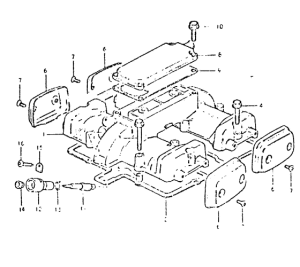
Запчасти для мотоциклов Suzuki GSX400

Год: 1999  •  Код модели: GSX400TX X  •  Объем двигателя: 400
Запчасти для мотоциклов Suzuki GSX400
{modalWnd}