OEM ЗАПЧАСТИ

  info@automotohub.ru   8 (916) 294-84-77
  О Компании   Оплата и Доставка   Помощь   Обратная связь

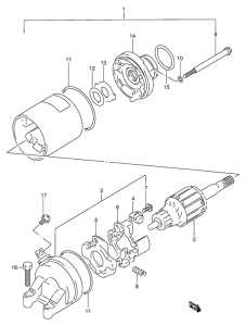
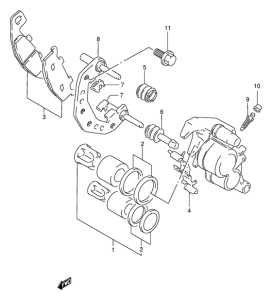
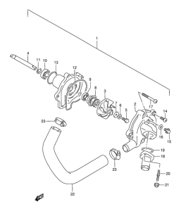
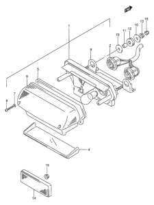
Запчасти для мотоциклов Suzuki GSX250 Across

Год: 1997  •  Код модели: GSX250FV(E24) V  •  Объем двигателя: 250
Запчасти для мотоциклов Suzuki GSX250 Across
Выбирайте узел вашей техники:


{modalWnd}