OEM ЗАПЧАСТИ

  info@automotohub.ru   8 (916) 294-84-77
  О Компании   Оплата и Доставка   Помощь   Обратная связь

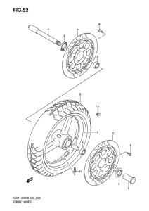
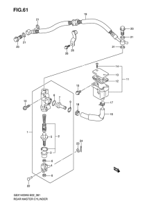
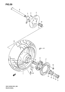
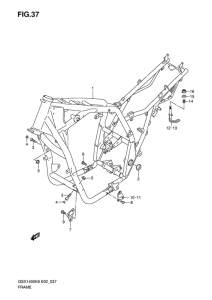
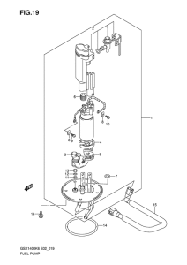
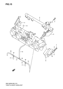
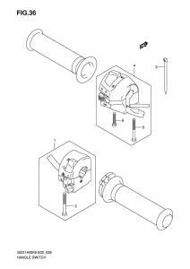
Запчасти для мотоциклов Suzuki GSX1400

Год: 2007  •  Код модели: GSX1400ZK7(E2) K7  •  Объем двигателя: 1400
Запчасти для мотоциклов Suzuki GSX1400
Выбирайте узел вашей техники:


{modalWnd}