OEM ЗАПЧАСТИ

  info@automotohub.ru   8 (916) 294-84-77
  О Компании   Оплата и Доставка   Помощь   Обратная связь

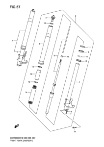
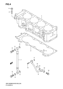
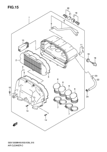
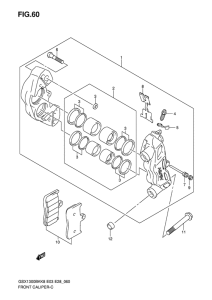
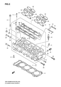
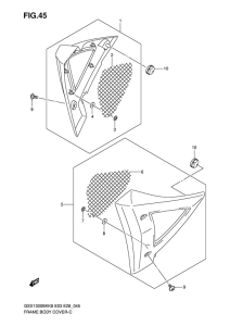
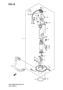
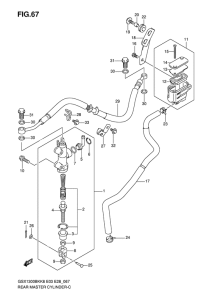
Запчасти для мотоциклов Suzuki GSX1300BK B-King

Год: 2009  •  Код модели: GSX1300BKK9(E3/E28) K9  •  Объем двигателя: 1300
Запчасти для мотоциклов Suzuki GSX1300BK B-King
Выбирайте узел вашей техники:


{modalWnd}