OEM ЗАПЧАСТИ

  info@automotohub.ru   8 (916) 294-84-77
  О Компании   Оплата и Доставка   Помощь   Обратная связь

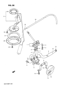
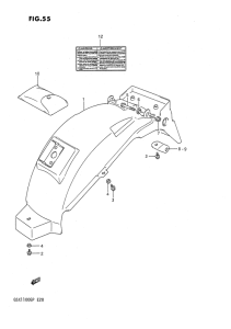
Запчасти для мотоциклов Suzuki GSX1100

Год: 1991  •  Код модели: GSX1100GM(E28) M  •  Объем двигателя: 1100
Запчасти для мотоциклов Suzuki GSX1100
Выбирайте узел вашей техники:


{modalWnd}