OEM ЗАПЧАСТИ

  info@automotohub.ru   8 (916) 294-84-77
  О Компании   Оплата и Доставка   Помощь   Обратная связь

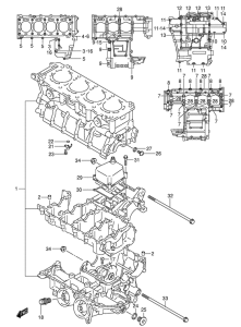
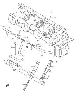
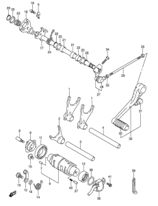
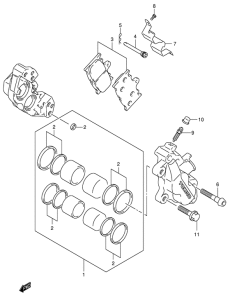
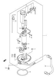
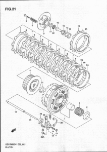
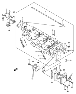
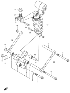
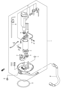
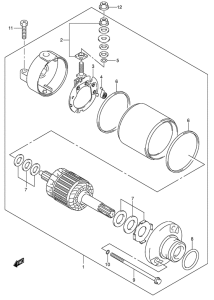
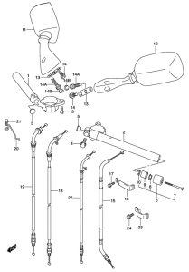
Запчасти для мотоциклов Suzuki GSX-R600

Год: 2003  •  Код модели: GSX-R600ZK3(E2) K3  •  Объем двигателя: 600
Запчасти для мотоциклов Suzuki GSX-R600
Выбирайте узел вашей техники:


{modalWnd}