OEM ЗАПЧАСТИ

  info@automotohub.ru   8 (916) 294-84-77
  О Компании   Оплата и Доставка   Помощь   Обратная связь

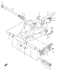
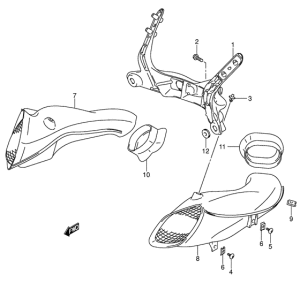
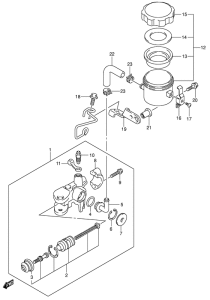
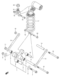
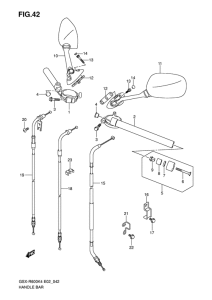
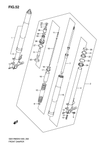
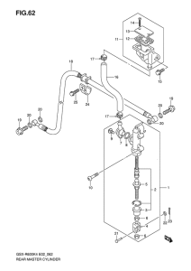
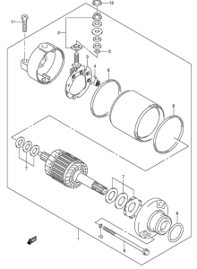
Запчасти для мотоциклов Suzuki GSX-R600U2

Год: 2005  •  Код модели: GSX-R600U2XK5(E2) K5  •  Объем двигателя: 600
Запчасти для мотоциклов Suzuki GSX-R600U2
Выбирайте узел вашей техники:


{modalWnd}