OEM ЗАПЧАСТИ

  info@automotohub.ru   8 (916) 294-84-77
  О Компании   Оплата и Доставка   Помощь   Обратная связь

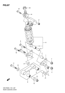
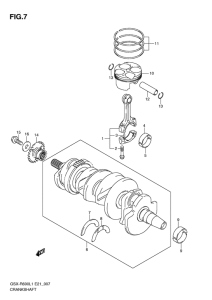
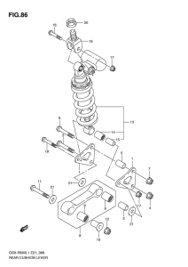
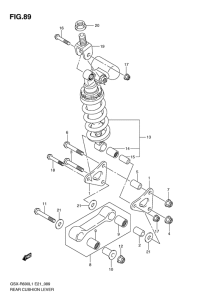
Запчасти для мотоциклов Suzuki GSX-R600

Год: 2011  •  Код модели: GSX-R600L1(E21) L1  •  Объем двигателя: 600
Запчасти для мотоциклов Suzuki GSX-R600
Выбирайте узел вашей техники:


{modalWnd}