OEM ЗАПЧАСТИ

  info@automotohub.ru   8 (916) 294-84-77
  О Компании   Оплата и Доставка   Помощь   Обратная связь

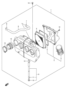
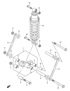
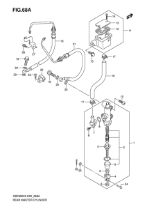
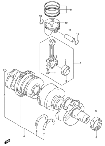
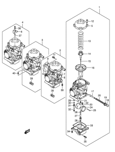
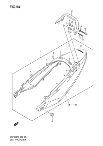
Запчасти для мотоциклов Suzuki GSF650 (ABS) Bandit

Год: 2005  •  Код модели: GSF650AK5(E2) K5  •  Объем двигателя: 650
Запчасти для мотоциклов Suzuki GSF650 (ABS) Bandit
Выбирайте узел вашей техники:


{modalWnd}