OEM ЗАПЧАСТИ

  info@automotohub.ru   8 (916) 294-84-77
  О Компании   Оплата и Доставка   Помощь   Обратная связь

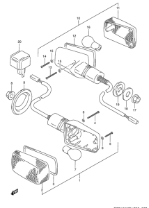
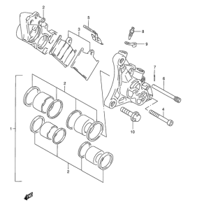
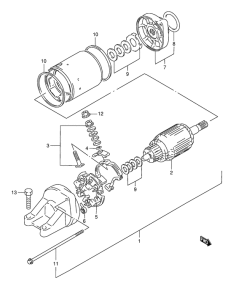
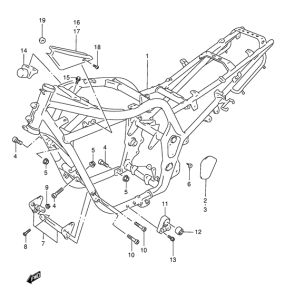
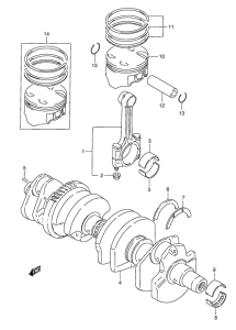
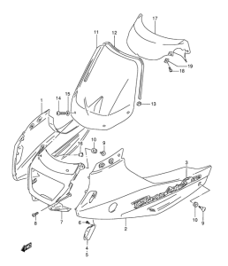
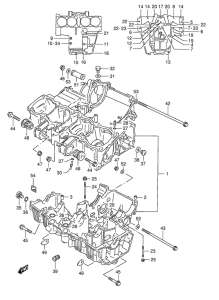
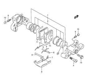
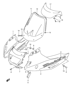
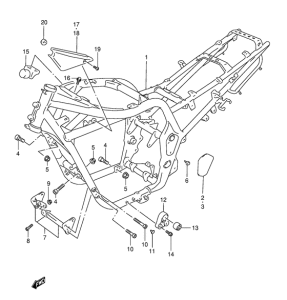
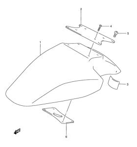
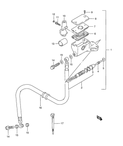
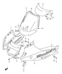
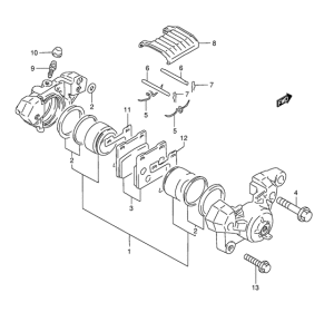
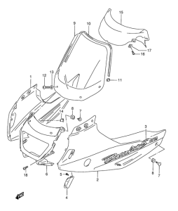
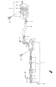
Запчасти для мотоциклов Suzuki GSF1200S Bandit S

Год: 1999  •  Код модели: GSF1200SX(E28) X  •  Объем двигателя: 1200
Запчасти для мотоциклов Suzuki GSF1200S Bandit S
Выбирайте узел вашей техники:


{modalWnd}