OEM ЗАПЧАСТИ

  info@automotohub.ru   8 (916) 294-84-77
  О Компании   Оплата и Доставка   Помощь   Обратная связь

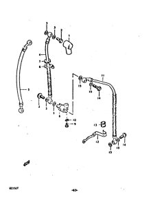
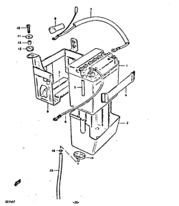
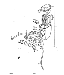
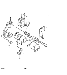
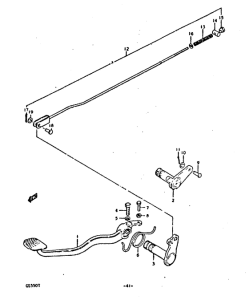
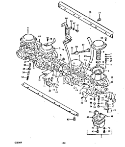
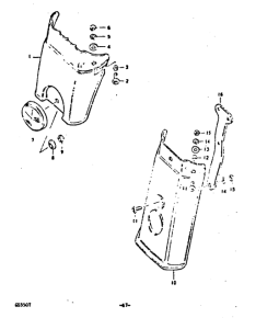
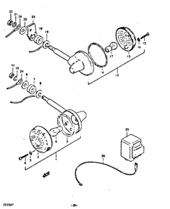
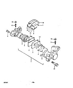
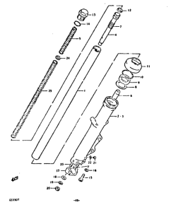
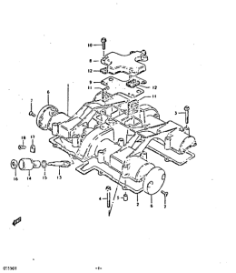
Запчасти для мотоциклов Suzuki GS550

Год: 1996  •  Код модели: GS550ET(T) T  •  Объем двигателя: 550
Запчасти для мотоциклов Suzuki GS550
Выбирайте узел вашей техники:


{modalWnd}