OEM ЗАПЧАСТИ

  info@automotohub.ru   8 (916) 294-84-77
  О Компании   Оплата и Доставка   Помощь   Обратная связь

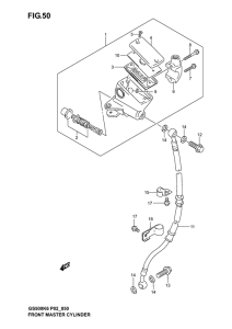
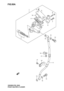
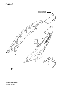
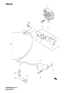
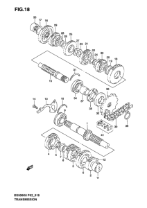
Запчасти для мотоциклов Suzuki GS500

Год: 2005  •  Код модели: GS500FUK5(P19) K5  •  Объем двигателя: 500
Запчасти для мотоциклов Suzuki GS500
Выбирайте узел вашей техники:


{modalWnd}