OEM ЗАПЧАСТИ

  info@automotohub.ru   8 (916) 294-84-77
  О Компании   Оплата и Доставка   Помощь   Обратная связь

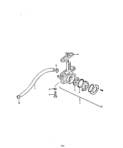
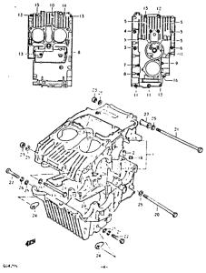
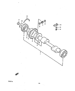
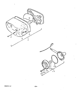
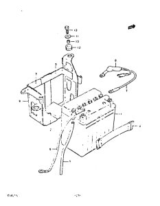
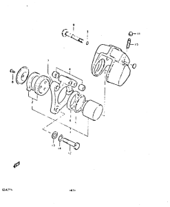
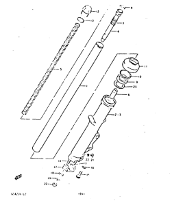
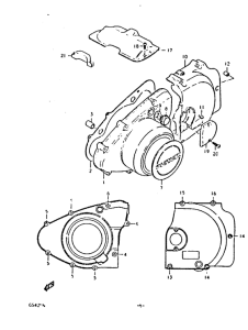
Запчасти для мотоциклов Suzuki GS425

Год: 1992  •  Код модели: GS425EN(N) N  •  Объем двигателя: 425
Запчасти для мотоциклов Suzuki GS425
{modalWnd}