OEM ЗАПЧАСТИ

  info@automotohub.ru   8 (916) 294-84-77
  О Компании   Оплата и Доставка   Помощь   Обратная связь

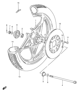
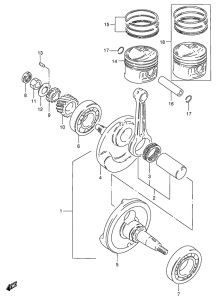
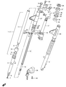
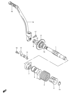
Запчасти для мотоциклов Suzuki GS125

Год: 1982  •  Код модели: GS125ESZ(E1) Z  •  Объем двигателя: 125
Запчасти для мотоциклов Suzuki GS125
Выбирайте узел вашей техники:


{modalWnd}