OEM ЗАПЧАСТИ

  info@automotohub.ru   8 (916) 294-84-77
  О Компании   Оплата и Доставка   Помощь   Обратная связь

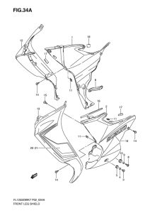
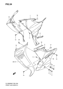
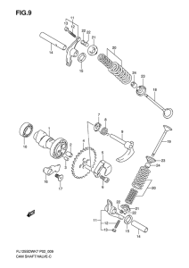
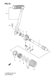
Запчасти для мотоциклов Suzuki FL125

Год: 2007  •  Код модели: FL125SDWK7(P2) K7  •  Объем двигателя: 125
Запчасти для мотоциклов Suzuki FL125
{modalWnd}