OEM ЗАПЧАСТИ

  info@automotohub.ru   8 (916) 294-84-77
  О Компании   Оплата и Доставка   Помощь   Обратная связь

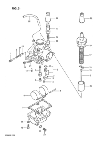
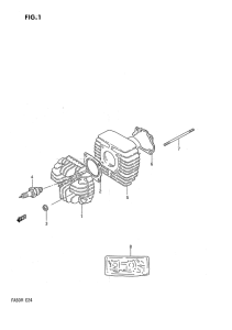
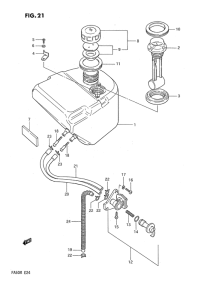
Запчасти для мотоциклов Suzuki FA50

Год: 1990  •  Код модели: FA50L(E24) L  •  Объем двигателя: 50
Запчасти для мотоциклов Suzuki FA50
{modalWnd}