OEM ЗАПЧАСТИ

  info@automotohub.ru   8 (916) 294-84-77
  О Компании   Оплата и Доставка   Помощь   Обратная связь

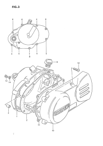
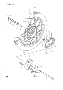
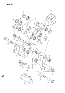
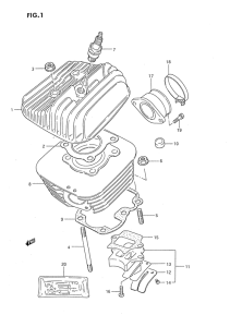
Запчасти для мотоциклов Suzuki DS80

Год: 1988  •  Код модели: DS80J(E3) J  •  Объем двигателя: 80
Запчасти для мотоциклов Suzuki DS80
{modalWnd}