OEM ЗАПЧАСТИ

  info@automotohub.ru   8 (916) 294-84-77
  О Компании   Оплата и Доставка   Помощь   Обратная связь

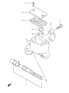
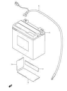
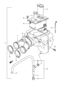
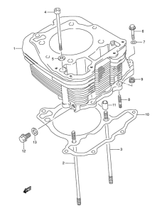
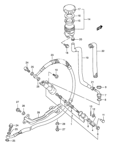
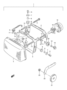
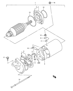
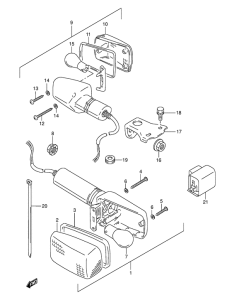
Запчасти для мотоциклов Suzuki DR800

Год: 1996  •  Код модели: DR800SUT(E4) T  •  Объем двигателя: 800
Запчасти для мотоциклов Suzuki DR800
Выбирайте узел вашей техники:


{modalWnd}