OEM ЗАПЧАСТИ

  info@automotohub.ru   8 (916) 294-84-77
  О Компании   Оплата и Доставка   Помощь   Обратная связь

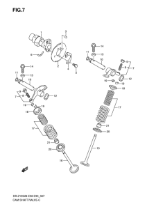
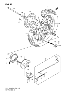
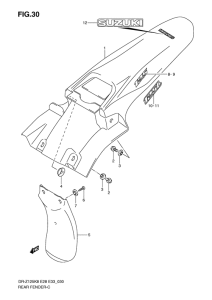
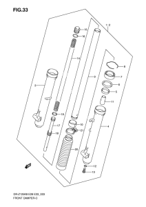
Запчасти для мотоциклов Suzuki DR-Z125 DR-Z125L

Год: 2010  •  Код модели: DR-Z125LL0(E28/E33) L0  •  Объем двигателя: 125
Запчасти для мотоциклов Suzuki DR-Z125 DR-Z125L
{modalWnd}