OEM ЗАПЧАСТИ

  info@automotohub.ru   8 (916) 294-84-77
  О Компании   Оплата и Доставка   Помощь   Обратная связь

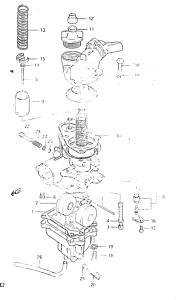
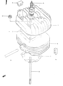
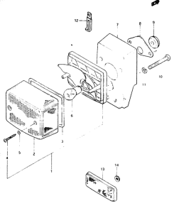
Запчасти для мотоциклов Suzuki CL50

Год: 1983  •  Код модели: CL50D(D) D  •  Объем двигателя: 50
Запчасти для мотоциклов Suzuki CL50
{modalWnd}