OEM ЗАПЧАСТИ

  info@automotohub.ru   8 (916) 294-84-77
  О Компании   Оплата и Доставка   Помощь   Обратная связь

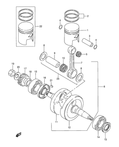
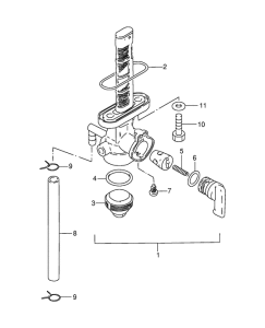
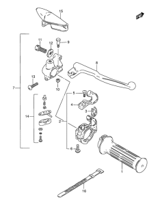
Запчасти для мотоциклов Suzuki AX115

Год: 1998  •  Код модели: AX115SW(E71) W  •  Объем двигателя: 115
Запчасти для мотоциклов Suzuki AX115
{modalWnd}