OEM ЗАПЧАСТИ

  info@automotohub.ru   8 (916) 294-84-77
  О Компании   Оплата и Доставка   Помощь   Обратная связь

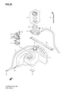
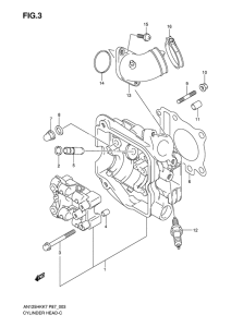
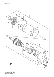
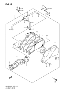
Запчасти для мотоциклов Suzuki AN125 Burgman

Год: 2007  •  Код модели: AN125HKK7(P87) K7  •  Объем двигателя: 125
Запчасти для мотоциклов Suzuki AN125 Burgman
{modalWnd}