OEM ЗАПЧАСТИ

  info@automotohub.ru   8 (916) 294-84-77
  О Компании   Оплата и Доставка   Помощь   Обратная связь

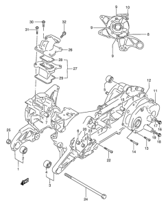
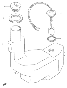
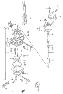
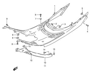
Запчасти для мотоциклов Suzuki AE50 Hi-UP

Год: 1991  •  Код модели: AE50M(E28) M  •  Объем двигателя: 50
Запчасти для мотоциклов Suzuki AE50 Hi-UP
{modalWnd}