OEM ЗАПЧАСТИ

  info@automotohub.ru   8 (916) 294-84-77
  О Компании   Оплата и Доставка   Помощь   Обратная связь

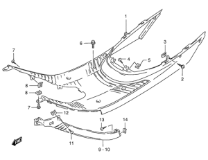
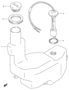
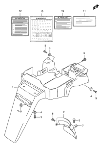
Запчасти для мотоциклов Suzuki AE50 Hi-UP

Год: 1999  •  Код модели: AE50X(E71) X  •  Объем двигателя: 50
Запчасти для мотоциклов Suzuki AE50 Hi-UP
Выбирайте узел вашей техники:


{modalWnd}