OEM ЗАПЧАСТИ

  info@automotohub.ru   8 (916) 294-84-77
  О Компании   Оплата и Доставка   Помощь   Обратная связь

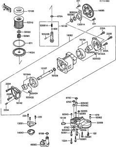
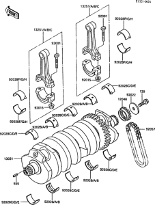
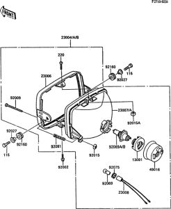
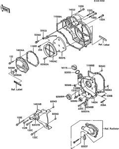
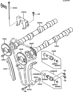
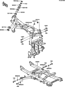
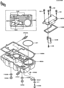
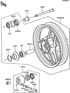
Запчасти для мотоциклов Kawasaki ZX900 GPZ900R

Год: 1988  •  Код модели: ZX900-A5  •  Объем двигателя: 900
Запчасти для мотоциклов Kawasaki ZX900 GPZ900R
Выбирайте узел вашей техники:


{modalWnd}