OEM ЗАПЧАСТИ

  info@automotohub.ru   8 (916) 294-84-77
  О Компании   Оплата и Доставка   Помощь   Обратная связь

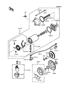
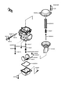
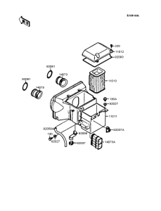
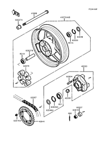
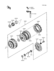
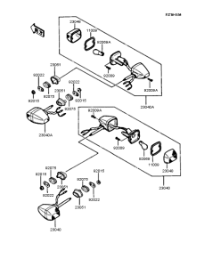
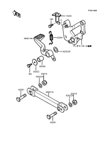
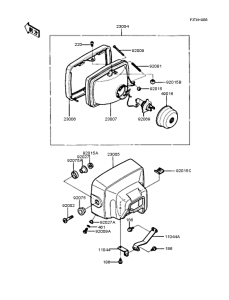
Запчасти для мотоциклов Kawasaki ZX400 FX400R

Год: 1988  •  Код модели: ZX400-E3  •  Объем двигателя: 400
Запчасти для мотоциклов Kawasaki ZX400 FX400R
Выбирайте узел вашей техники:


{modalWnd}