OEM ЗАПЧАСТИ

  info@automotohub.ru   8 (916) 294-84-77
  О Компании   Оплата и Доставка   Помощь   Обратная связь

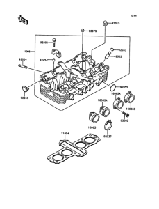
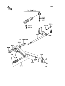
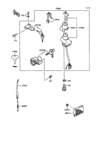
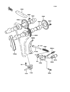
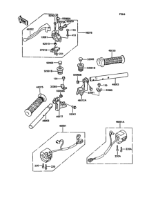
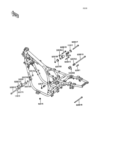
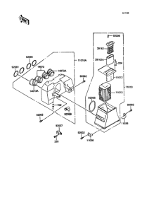
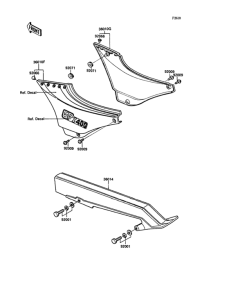
Запчасти для мотоциклов Kawasaki ZX400 Z400FII

Год: 1991  •  Код модели: ZX400-C4  •  Объем двигателя: 400
Запчасти для мотоциклов Kawasaki ZX400 Z400FII
{modalWnd}