OEM ЗАПЧАСТИ

  info@automotohub.ru   8 (916) 294-84-77
  О Компании   Оплата и Доставка   Помощь   Обратная связь

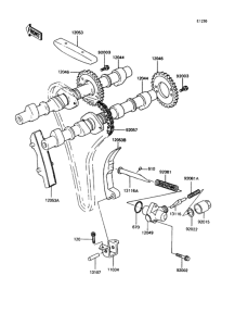
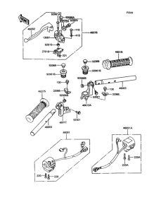
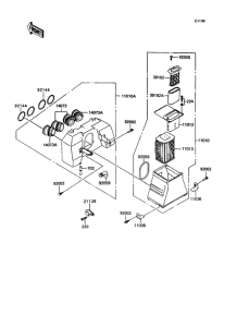
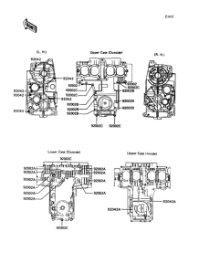
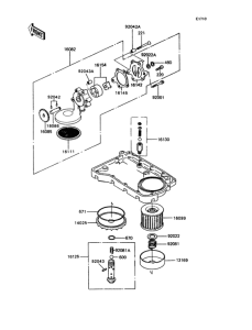
Запчасти для мотоциклов Kawasaki ZX400 Z400FII

Год: 1994  •  Код модели: ZX400-C5  •  Объем двигателя: 400
Запчасти для мотоциклов Kawasaki ZX400 Z400FII
Выбирайте узел вашей техники:


{modalWnd}