OEM ЗАПЧАСТИ

  info@automotohub.ru   8 (916) 294-84-77
  О Компании   Оплата и Доставка   Помощь   Обратная связь

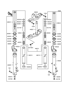
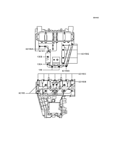
Запчасти для мотоциклов Kawasaki ZX400 ZZR400

Год: 2003  •  Код модели: ZX400-N9  •  Объем двигателя: 400
Запчасти для мотоциклов Kawasaki ZX400 ZZR400
Выбирайте узел вашей техники:


{modalWnd}