OEM ЗАПЧАСТИ

  info@automotohub.ru   8 (916) 294-84-77
  О Компании   Оплата и Доставка   Помощь   Обратная связь

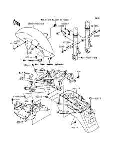
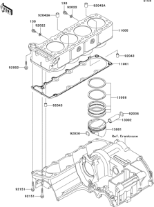
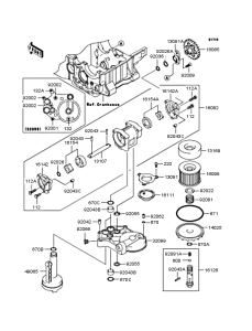
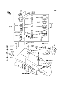
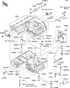
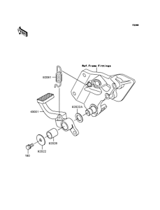
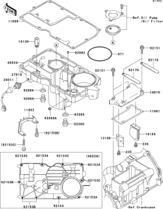
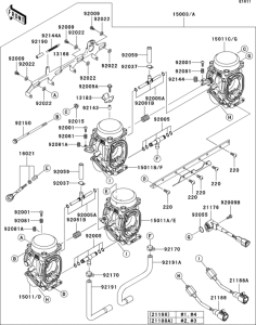
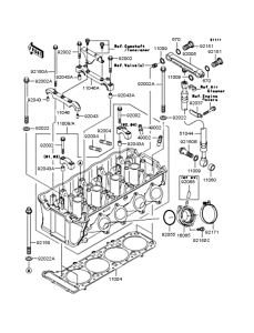
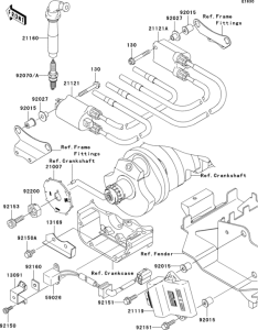
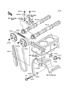
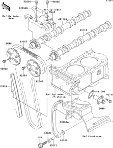
Запчасти для мотоциклов Kawasaki ZX1200 ZZR1200

Год: 2003  •  Код модели: ZX1200-C2  •  Объем двигателя: 1200
Запчасти для мотоциклов Kawasaki ZX1200 ZZR1200
Выбирайте узел вашей техники:


{modalWnd}