OEM ЗАПЧАСТИ

  info@automotohub.ru   8 (916) 294-84-77
  О Компании   Оплата и Доставка   Помощь   Обратная связь

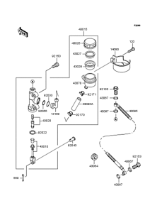
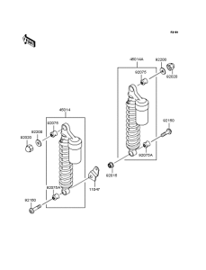
Запчасти для мотоциклов Kawasaki ZR400 ZRX-II

Год: 2005  •  Код модели: ZR400-F10  •  Объем двигателя: 400
Запчасти для мотоциклов Kawasaki ZR400 ZRX-II
Выбирайте узел вашей техники:


{modalWnd}