OEM ЗАПЧАСТИ

  info@automotohub.ru   8 (916) 294-84-77
  О Компании   Оплата и Доставка   Помощь   Обратная связь

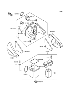
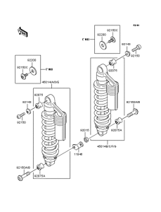
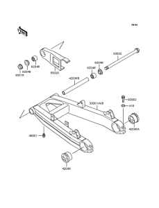
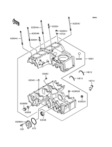
Запчасти для мотоциклов Kawasaki ZR400 Zephyr

Год: 1991  •  Код модели: ZR400-C3  •  Объем двигателя: 400
Запчасти для мотоциклов Kawasaki ZR400 Zephyr
Выбирайте узел вашей техники:


{modalWnd}