OEM ЗАПЧАСТИ

  info@automotohub.ru   8 (916) 294-84-77
  О Компании   Оплата и Доставка   Помощь   Обратная связь

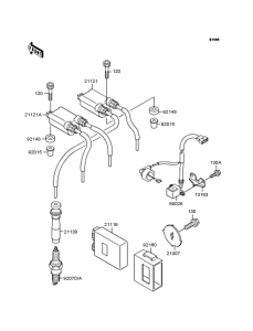
Запчасти для мотоциклов Kawasaki ZR250 Balius

Год: 1996  •  Код модели: ZR250-A6  •  Объем двигателя: 250
Запчасти для мотоциклов Kawasaki ZR250 Balius
Выбирайте узел вашей техники:


{modalWnd}