OEM ЗАПЧАСТИ

  info@automotohub.ru   8 (916) 294-84-77
  О Компании   Оплата и Доставка   Помощь   Обратная связь

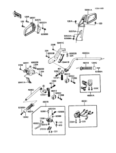
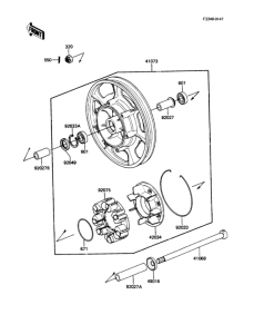
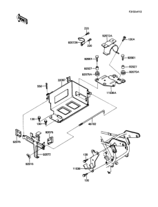
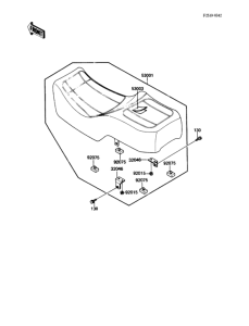
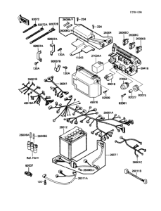
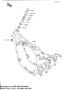
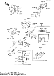
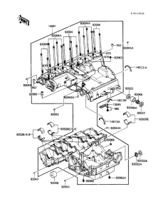
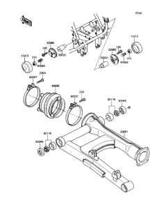
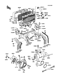
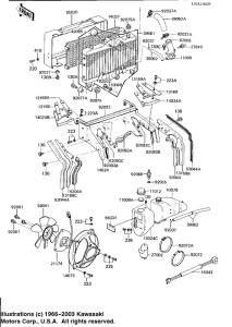
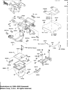
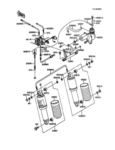
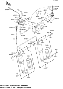
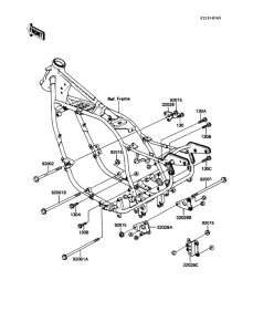
Запчасти для мотоциклов Kawasaki ZN1300 Voyager

Год: 1988  •  Код модели: ZN1300-A6  •  Объем двигателя: 1300
Запчасти для мотоциклов Kawasaki ZN1300 Voyager
Выбирайте узел вашей техники:


{modalWnd}