OEM ЗАПЧАСТИ

  info@automotohub.ru   8 (916) 294-84-77
  О Компании   Оплата и Доставка   Помощь   Обратная связь

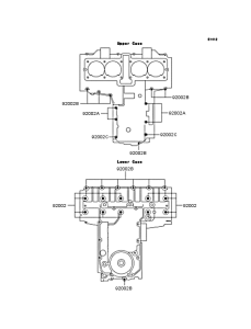
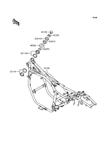
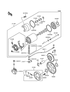
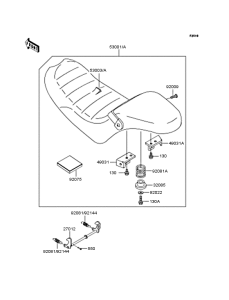
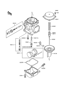
Запчасти для мотоциклов Kawasaki ZL400 Eliminator 400

Год: 1995  •  Код модели: ZL400-D2  •  Объем двигателя: 400
Запчасти для мотоциклов Kawasaki ZL400 Eliminator 400
Выбирайте узел вашей техники:


{modalWnd}