OEM ЗАПЧАСТИ

  info@automotohub.ru   8 (916) 294-84-77
  О Компании   Оплата и Доставка   Помощь   Обратная связь

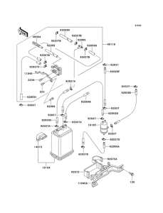
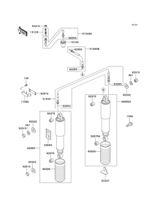
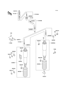
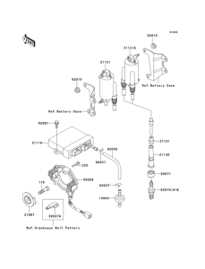
Запчасти для мотоциклов Kawasaki ZG1200 Voyager XII

Год: 2003  •  Код модели: ZG1200-B17  •  Объем двигателя: 1200
Запчасти для мотоциклов Kawasaki ZG1200 Voyager XII
Выбирайте узел вашей техники:


{modalWnd}