OEM ЗАПЧАСТИ

  info@automotohub.ru   8 (916) 294-84-77
  О Компании   Оплата и Доставка   Помощь   Обратная связь

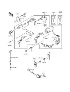
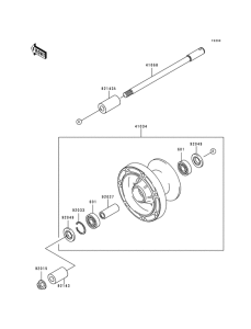
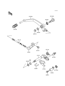
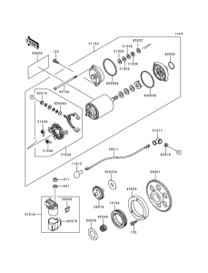
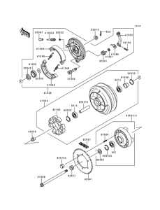
Запчасти для мотоциклов Kawasaki VN800 Vulcan 800 Classic

Год: 1998  •  Код модели: VN800-B3  •  Объем двигателя: 800
Запчасти для мотоциклов Kawasaki VN800 Vulcan 800 Classic
Выбирайте узел вашей техники:


{modalWnd}