OEM ЗАПЧАСТИ

  info@automotohub.ru   8 (916) 294-84-77
  О Компании   Оплата и Доставка   Помощь   Обратная связь

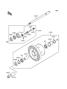
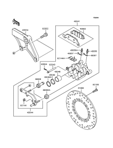
Запчасти для мотоциклов Kawasaki VN400 Vulcan Classic

Год: 1999  •  Код модели: VN400-C4  •  Объем двигателя: 400
Запчасти для мотоциклов Kawasaki VN400 Vulcan Classic
Выбирайте узел вашей техники:


{modalWnd}