OEM ЗАПЧАСТИ

  info@automotohub.ru   8 (916) 294-84-77
  О Компании   Оплата и Доставка   Помощь   Обратная связь

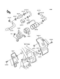
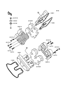
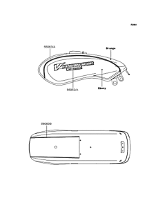
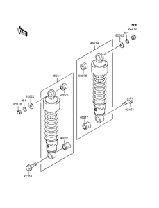
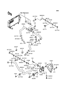
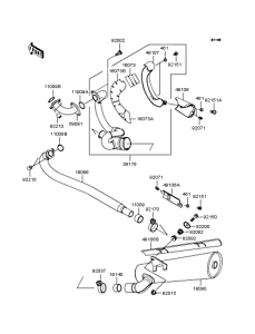
Запчасти для мотоциклов Kawasaki VN250 Eliminator 250V

Год: 2002  •  Код модели: VN250-B3  •  Объем двигателя: 250
Запчасти для мотоциклов Kawasaki VN250 Eliminator 250V
Выбирайте узел вашей техники:


{modalWnd}