OEM ЗАПЧАСТИ

  info@automotohub.ru   8 (916) 294-84-77
  О Компании   Оплата и Доставка   Помощь   Обратная связь

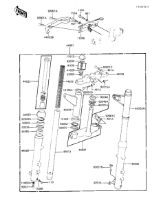
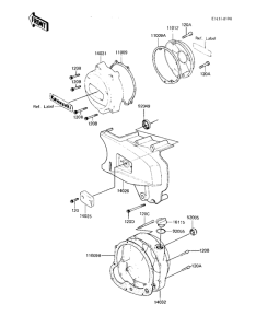
Запчасти для мотоциклов Kawasaki KZ550

Год: 1983  •  Код модели: KZ550-A4  •  Объем двигателя: 550
Запчасти для мотоциклов Kawasaki KZ550
{modalWnd}