OEM ЗАПЧАСТИ

  info@automotohub.ru   8 (916) 294-84-77
  О Компании   Оплата и Доставка   Помощь   Обратная связь

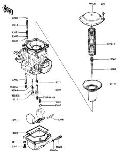
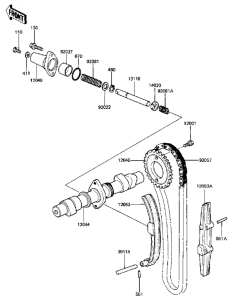
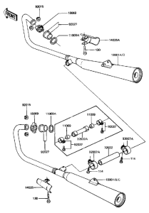
Запчасти для мотоциклов Kawasaki KZ440

Год: 1982  •  Код модели: KZ440-D4  •  Объем двигателя: 440
Запчасти для мотоциклов Kawasaki KZ440
Выбирайте узел вашей техники:


{modalWnd}