OEM ЗАПЧАСТИ

  info@automotohub.ru   8 (916) 294-84-77
  О Компании   Оплата и Доставка   Помощь   Обратная связь

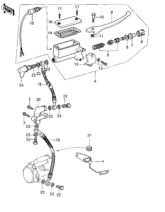
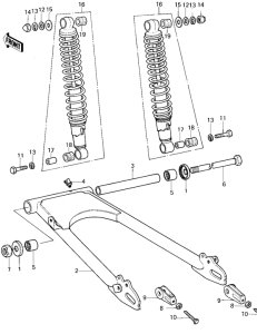
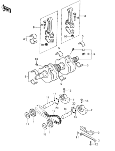
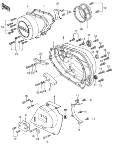
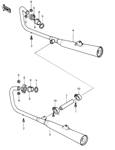
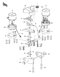
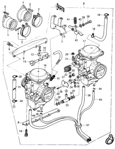
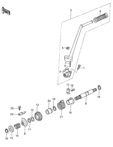
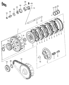
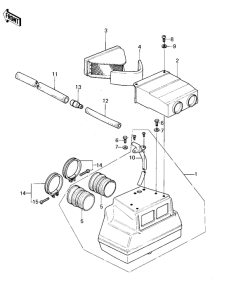
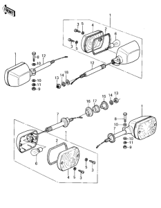
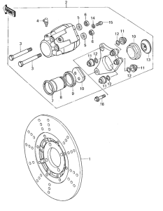
Запчасти для мотоциклов Kawasaki KZ400

Год: 1979  •  Код модели: KZ400-H1  •  Объем двигателя: 400
Запчасти для мотоциклов Kawasaki KZ400
{modalWnd}