OEM ЗАПЧАСТИ

  info@automotohub.ru   8 (916) 294-84-77
  О Компании   Оплата и Доставка   Помощь   Обратная связь

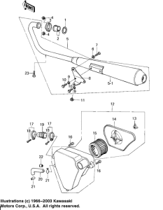
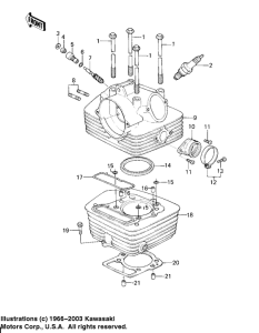
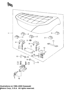
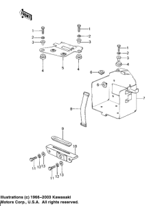
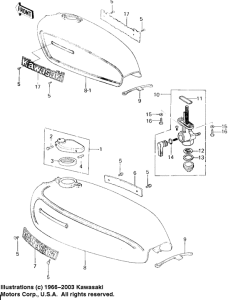
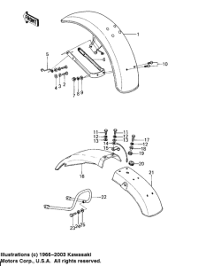
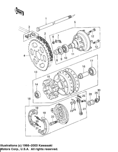
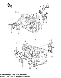
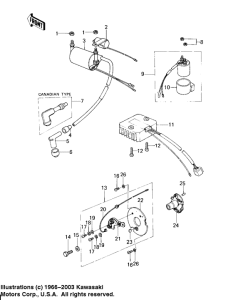
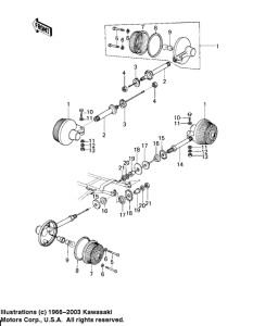
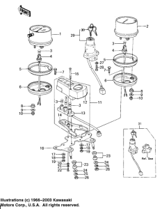
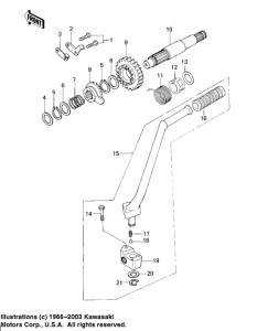
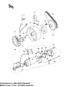
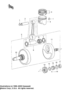
Запчасти для мотоциклов Kawasaki KZ200

Год: 1979  •  Код модели: KZ200-A2  •  Объем двигателя: 200
Запчасти для мотоциклов Kawasaki KZ200
{modalWnd}