OEM ЗАПЧАСТИ

  info@automotohub.ru   8 (916) 294-84-77
  О Компании   Оплата и Доставка   Помощь   Обратная связь

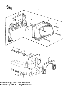
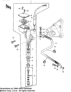
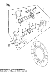
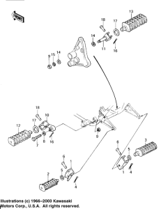
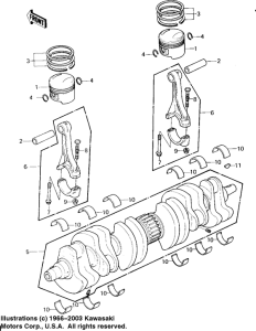
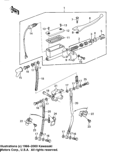
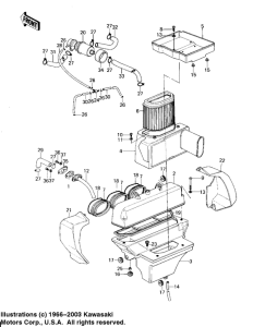
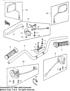
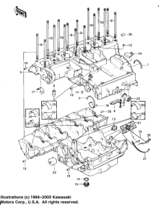
Запчасти для мотоциклов Kawasaki KZ1300

Год: 1979  •  Код модели: KZ1300-A1  •  Объем двигателя: 1300
Запчасти для мотоциклов Kawasaki  KZ1300
Выбирайте узел вашей техники:


{modalWnd}