OEM ЗАПЧАСТИ

  info@automotohub.ru   8 (916) 294-84-77
  О Компании   Оплата и Доставка   Помощь   Обратная связь

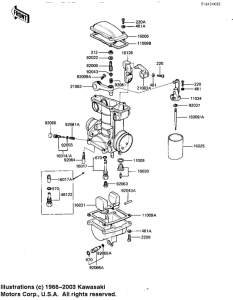
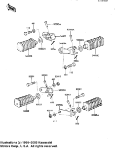
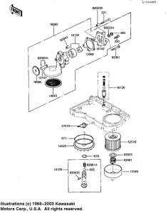
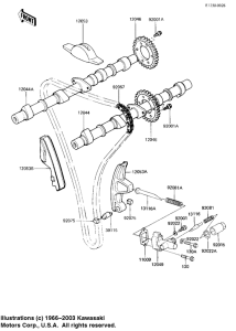
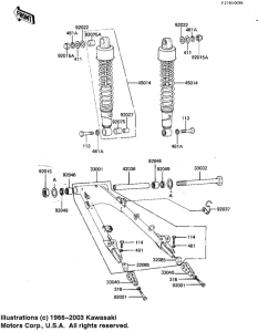
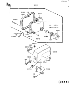
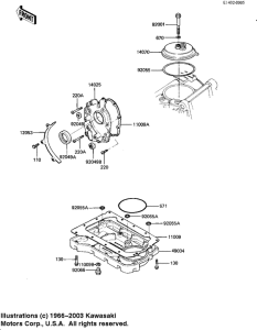
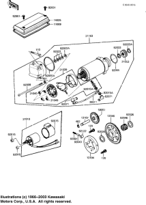
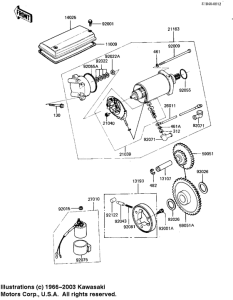
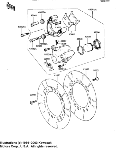
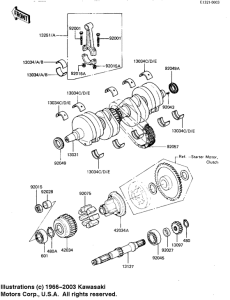
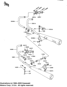
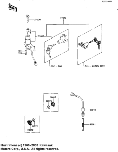
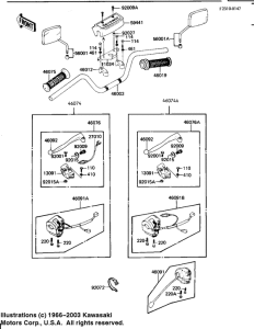
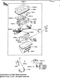
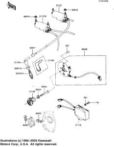
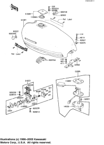
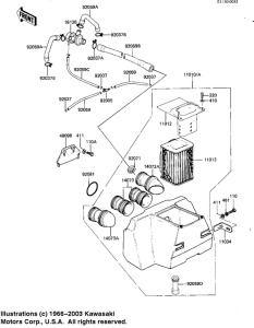
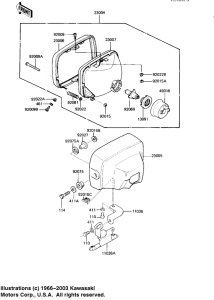
Запчасти для мотоциклов Kawasaki KZ1100 GPZ

Год: 1981  •  Код модели: KZ1100-B1  •  Объем двигателя: 1100
Запчасти для мотоциклов Kawasaki KZ1100 GPZ
Выбирайте узел вашей техники:


{modalWnd}