OEM ЗАПЧАСТИ

  info@automotohub.ru   8 (916) 294-84-77
  О Компании   Оплата и Доставка   Помощь   Обратная связь

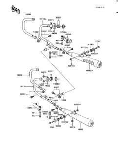
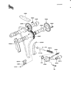
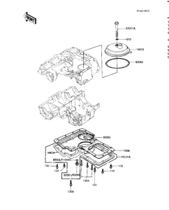
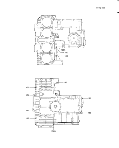
Запчасти для мотоциклов Kawasaki KZ1100

Год: 1983  •  Код модели: KZ1100-A3  •  Объем двигателя: 1100
Запчасти для мотоциклов Kawasaki  KZ1100
{modalWnd}