OEM ЗАПЧАСТИ

  info@automotohub.ru   8 (916) 294-84-77
  О Компании   Оплата и Доставка   Помощь   Обратная связь

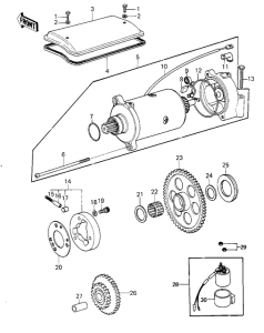
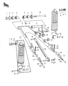
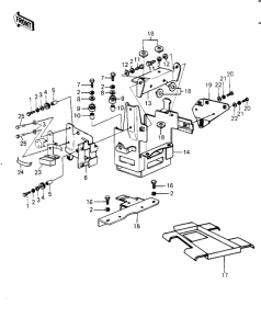
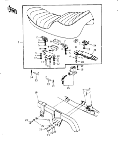
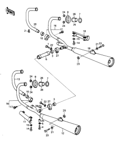
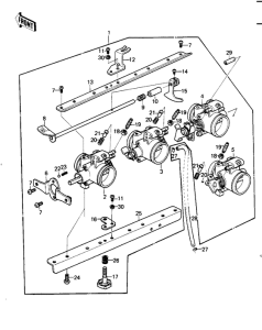
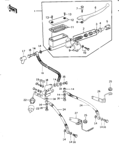
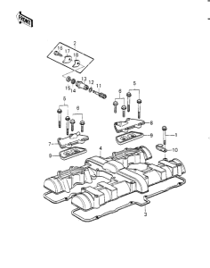
Запчасти для мотоциклов Kawasaki KZ1000 Z1 Classic

Год: 1980  •  Код модели: KZ1000-G1  •  Объем двигателя: 1000
Запчасти для мотоциклов Kawasaki KZ1000 Z1 Classic
{modalWnd}