OEM ЗАПЧАСТИ

  info@automotohub.ru   8 (916) 294-84-77
  О Компании   Оплата и Доставка   Помощь   Обратная связь

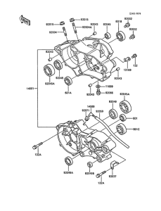
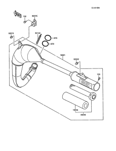
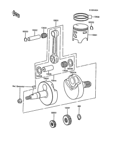
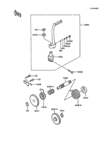
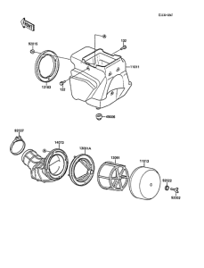
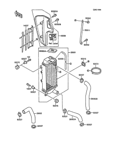
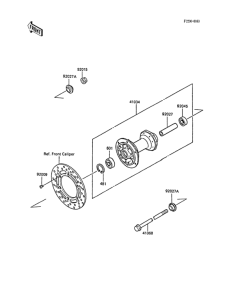
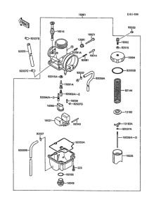
Запчасти для мотоциклов Kawasaki KX80

Год: 1988  •  Код модели: KX80-L1  •  Объем двигателя: 80
Запчасти для мотоциклов Kawasaki  KX80
{modalWnd}