OEM ЗАПЧАСТИ

  info@automotohub.ru   8 (916) 294-84-77
  О Компании   Оплата и Доставка   Помощь   Обратная связь

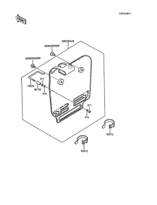
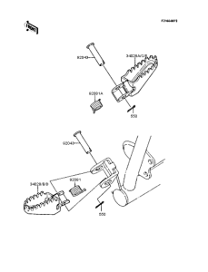
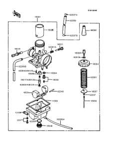
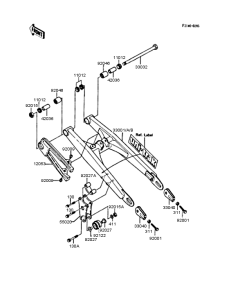
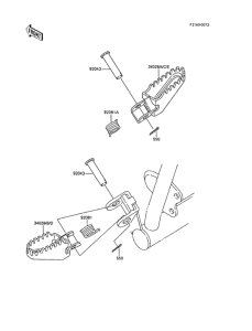
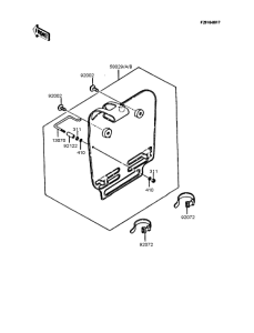
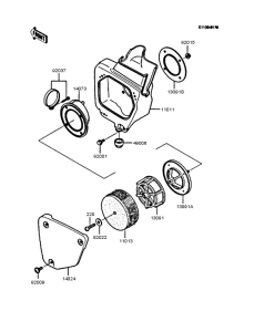
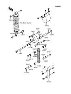
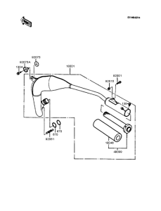
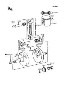
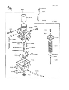
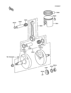
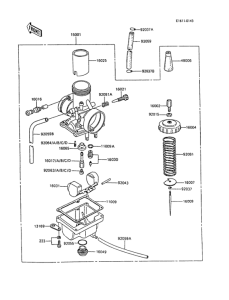
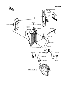
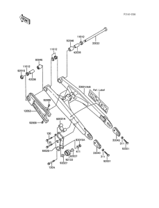
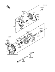
Запчасти для мотоциклов Kawasaki KX60

Год: 1986  •  Код модели: KX60-B2  •  Объем двигателя: 60
Запчасти для мотоциклов Kawasaki KX60
Выбирайте узел вашей техники:


{modalWnd}