OEM ЗАПЧАСТИ

  info@automotohub.ru   8 (916) 294-84-77
  О Компании   Оплата и Доставка   Помощь   Обратная связь

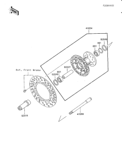
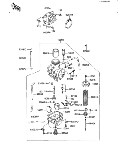
Запчасти для мотоциклов Kawasaki KX500

Год: 1986  •  Код модели: KX500-B2  •  Объем двигателя: 500
Запчасти для мотоциклов Kawasaki KX500
{modalWnd}